▲昨年12月31日、務安空港で起きたチェジュ航空7C2216便の事故現場を調査する警察の科学捜査隊。/チャン・リョンソン記者
昨年12月に務安空港で起きたチェジュ航空機の事故を巡り、決定的原因のうちの一つとされる「コンクリート製の構造物」を撤去する機会が少なくとも3回あったにもかかわらず、韓国国土交通部(省に相当)が黙殺するなどして実現しなかったことが確認された。務安空港は地元大物政治家の名前を冠して「韓和甲(ハン・ファガプ)空港」とも呼ばれ、着工前までは政治的な面で注目されたが、実際に開港してからは管理がずさんで、そ..
続き読む
▲昨年12月31日、務安空港で起きたチェジュ航空7C2216便の事故現場を調査する警察の科学捜査隊。/チャン・リョンソン記者
昨年12月に務安空港で起きたチェジュ航空機の事故を巡り、決定的原因のうちの一つとされる「コンクリート製の構造物」を撤去する機会が少なくとも3回あったにもかかわらず、韓国国土交通部(省に相当)が黙殺するなどして実現しなかったことが確認された。務安空港は地元大物政治家の名前を冠して「韓和甲(ハン・ファガプ)空港」とも呼ばれ、着工前までは政治的な面で注目されたが、実際に開港してからは管理がずさんで、それが事故拡大につながったとの指摘も出ている。
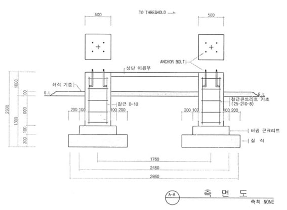
【写真】務安空港コンクリート構造物の側面図
国会国土交通委員会所属の金恩慧(キム・ウンヘ)議員(国民の力)が26日に国土交通部から入手した資料によると、務安空港が開港する直前の2007年、韓国空港公社は国土交通部に「滑走路の末端から300メートル以内の地点にローカライザー(着陸誘導システムの方位角装置)の土台(コンクリート構造物)が存在しており、基準に合致していない」として「土台の傾斜角度などを勘案した場合、『障害物』と見なされるため、設置基準に合うよう補完が必要」と指摘した。これは、務安空港が完工し、韓国空港公社が引き渡しを受けるために点検をしていた時期だ。
ところが国土交通部はこの指摘を黙殺した。当時、盧武鉉(ノ・ムヒョン)政権下の国土交通部は「航空機の安全運航に直接の影響がないことが確認された」として、空港の運営を可能にする「航空運営証明」を認可した。その後、国土交通部は18年にわたって毎年「空港運営検査」を実施していたが、その検査でもローカライザーとコンクリート構造物に問題がないとして「S(満足)」と評価していたことが分かった。
韓国空港公社が務安空港の「コンクリート構造物」を危険な障害物に分類し、補完を指摘したのは、飛行機が滑走路を外れた場合に備えて設ける安全区域「滑走路端安全区域」が非常に短かったからだ。滑走路端安全区域は、着陸帯の端から240メートルを確保するのが望ましいとされているが、務安空港の場合は199メートルしかなかったため、事故の懸念が指摘されていた。
専門家らは、国土交通部が当時、韓国空港公社の意見を突っぱね「滑走路端安全区域内のコンクリート構造物は問題がない」と記述したことに注目している。国土交通部はこれまで、滑走路端安全区域の外側に位置する施設に関しては材質や形状の規定が特にないとして「コンクリートの構造物は安全区域の外側にあるため問題ない」と主張してきた。しかし当時の国土交通部の意見は、この主張とは矛盾するものだ。
国土交通部のずさんな管理は、設計変更の過程からも見て取れる。本紙が確保した務安空港の最初の設計図は、ローカライザー下段のコンクリート土台が「横型」になっているが、実際の施工過程では、この土台が「縦型」に変更された。これはコンクリート構造物が作られた経緯などに関わるものだが、国土交通部は当時の設計変更に関する資料自体を保有していないことが分かった。当時、このコンクリート構造物に関してどのような議論があって、なぜ設計が変更されたのか、真相が全く分からないということだ。
国土交通部はその後18年にわたって毎年「空港運営検査」を実施してきたが、この検査もずさんだったことが分かった。この検査は空港施設法と国土交通部の告示によって「ローカライザー施設および設備」が壊れやすい状態で設置されているかどうかを点検することになっている。調査の主体である国土交通部は18年間、この項目をS(満足)と評価していた。
コンクリートの構造物を改善する機会は2020年以降もあった。務安空港は20年、ローカライザーの改良・交換工事を始め、昨年初めまで改良作業を実施していた。しかし国土交通部と韓国空港公社はこのとき、コンクリートの構造物をなくすのではなく、上部をさらに補強する案を選択した。設計業務を発注する際に「壊れやすさ(Frangibility)」を重視することを検討事項に含めていたにもかかわらず、実際に設計案が採択された際には、コンクリートの構造物を強化する案を、特に検討することもなく受け入れた。
一方、この日国会で行われた務安空港事故の真相究明特別委員会では、国土交通部傘下の航空鉄道事故調査委員会などがこの問題を十分に調査できるのかという疑問が提起され、特別検察官による捜査の必要性が話し合われた。金潤徳(キム・ユンドク)国土交通部長官は「必要であれば特別検察官による捜査もあり得ると考えている」と述べた。
キム・アサ記者
朝鮮日報/朝鮮日報日本語版
Copyright (c) Chosunonline.com